東吳專利—距離量測及顯示裝置
【研究事務組訊】
發明人:陳秋民副教授、謝沅志、陳勁凱、高源鴻、林逸群、吳承勲
一般學校通常都有體適能測驗的科目,其中有關立定跳遠的項目,當受測者跳出一段趾離後落地,對於該距離的長度,通常都是用尺來量測,但由於不夠精準與不便,乃有利用特製的毯子,在毯子或地墊上設有刻度,雖然較方便,但很快就造成損壞。
本校物理系陳秋民副教授及其研究團隊為了改善前述測量上的不便,提供一種耐用且精確的測量設備,經過實際的測試後,提出了一種利用光電原理的「光柵式距離量測裝置。」
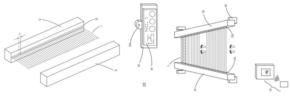
一、一發射部,具有複數個發光單元,各發光單元設置在每一固定間隔處,並由各發光單元發出一光束。
二、一本體,一側樞接警示板組,底部具有移動單元。
三、一接收部,對應各發光單元設置複數個受光單元,各受光單元對應各發光單元接收各光束形成光柵。
四、一控制單元,根據各光束被遮蔽的狀態,計算出距離數值。
五、一顯示模組,顯示距離數值和相關資料如受測人員名字。
利用控制單元的一掃瞄單元掃瞄各光束被遮蔽的狀態,即被遮蔽的光東數或光束位置,經控制單元運算產生一數值信號,並於顯示模組顯示。當完成一組被遮蔽光東數的掃描,取得相對村應的數值顯示或記錄後,控制單元隨即再進行下一次的掃描。
如圖所示:

藉由本裝置的距離量測裝置可以精確測量一距離長度,並利用一終端顯示單元將所測得的相關數值即時顯示出來,方便安裝與收納。
【專利名稱】距離量測及顯示裝置
【專利證號】中華民國新型第M606861號
【專利摘要】本新型揭露一種距離量測與顯示裝置,包含﹔一發射部,具有複數個發光單元,各發光單元設置在每一固定間隔處,並由各發光單元發出一光束;一接收部對應各發光單元設置複數個受光單元,各受光單元對應各發光單元接收各光束形成光柵﹔一控制單元,根據各光束被遮蔽的狀態,計算出一距離數值;以及一顯示模組,顯示距離數值和相關資料如受測人員名字。 藉由本裝置的距離量測裝置可以精確測量一距離長度,並利用一終端顯示單元將所測得的相關數值即時顯示出來,方便安裝與收納。
近期【校園頭條】
查閱更多公告| 類別 | 標題 | 登刊日期 |
| 校園頭條 | 薪火相傳 綠映雙溪:東吳化學系友大會 譜寫世代交替新篇章 | 2026/04/24 |
| 校園頭條 | 賀!東吳實踐家創創基地進駐團隊通過115年教育部U-start創新創業計畫100萬元補助 | 2026/04/24 |
| 校園頭條 | 東吳物理攜手哈佛醫學院 暑期實習走進頂尖實驗室 | 2026/04/22 |
| 校園頭條 | 東吳女籃二連霸 跨季24連勝搶下UBA冠軍盃 | 2026/04/20 |
| 校園頭條 | 台泰友好:北欖府巴沙次區市長率團訪東吳並參加密集華語研習 | 2026/04/17 |


